查看产品的最新更新和改进,持续为您提供更好的体验
有权限的情况下,可以手动选择:查看个人数据、查看部门数据、查看公司数据
创建完成的待办事项,会类似闹钟一样,到指定时间时弹出消息提醒。









1.【通话记录】页面新增筛选条件:客户状态、意向度、是否有录音
2.【通话记录】页面表格展示客户状态和意向度
3.【通话记录】【跟进记录】可以点击客户名称查看客户详细资料
4.【客户统计】【转化统计】新增数据导出的功能
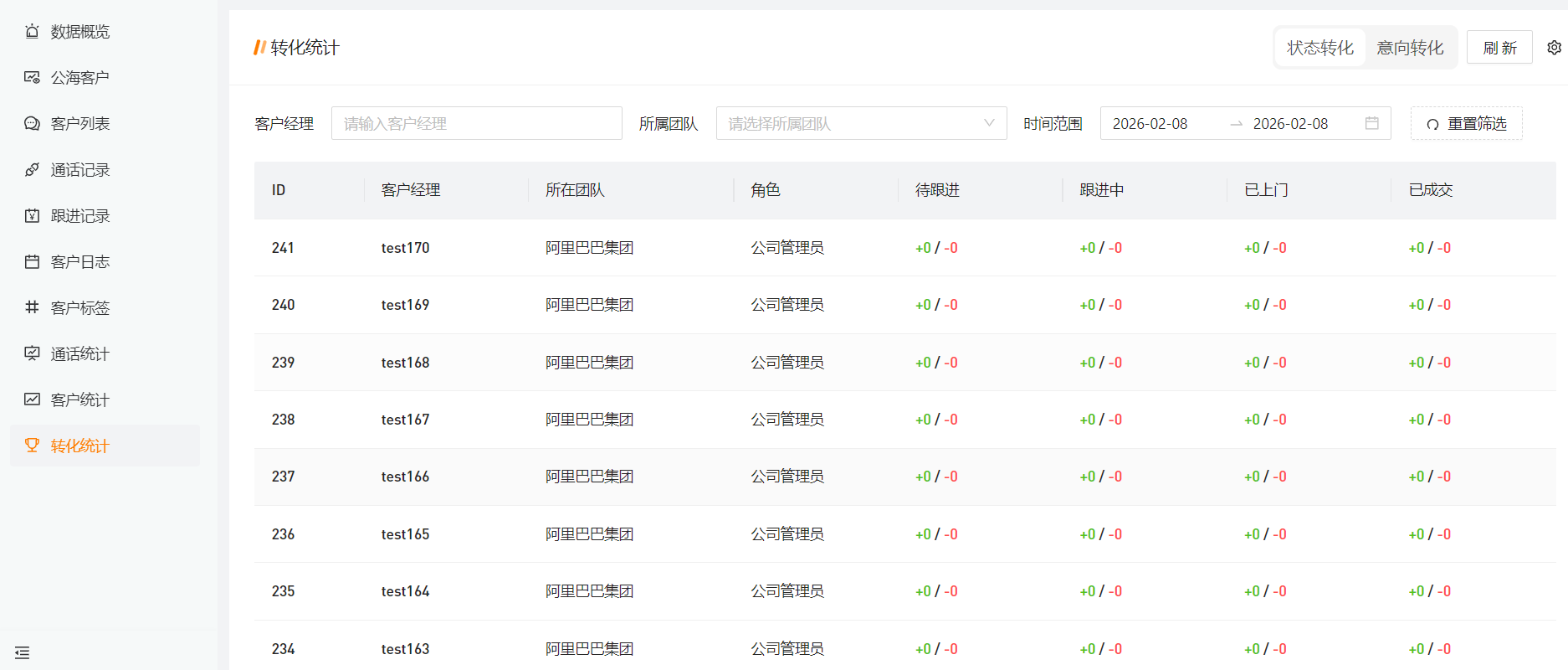
5.【转化统计】可以点击表头自定义表数据排序
6.【转化统计】可以查看详细的转化数据

















操作说明: https://nicen.cn/8571.html#h311
新增【分配规则】页面
1. 新增 可设置规则 系统定时分配客户
2. 新增 可设置规则 允许用户主动领取客户
APP新增:
1. 添加客户
2. 领取客户
自定义字段新增了一个选项【显示设置】,可以设置这个字段 是否在APP客户列表的客户信息中展示。
同时也新增了一个选项【APP排序】控制这个字段的显示顺序
客户列表页面新增【批量导入】的按钮,可以批量导入属于当前账号的客户
对应角色权限 【批量导入自己的客户】,有权限的才可以看见按钮和导入
更新内容:
1. 新增按角色分配
2. 自动分配的客户调整为 -> 基于当前查询条件进行分配,也就是当前公海客户列表查出来的客户才会用于分配
跟进记录页面新增数据概览、新增客户号码展示
客户列表和客户公海 新增【号码归属地】筛选、【通话次数】筛选、【接通次数】筛选
公海页面新增【一键删除】按钮,可以一键删除当前筛选条件下的所有客户数据
